Skip navigation links Sitemap | About us | FAQs

UN Programme on Disability   Working for full participation and equality
[_headerthemes.htm]
Theme: Accessibility :
Accessibility for the Disabled - A Design Manual for a Barrier Free Environment
previousPrevious : Nextnext

I. URBAN DESIGN CONSIDERATIONS

7. PARKING

1. PROBLEM IDENTIFICATION

Poor parking facilities.

Insufficient width of the parking aisle.

No allocation of parking space for the disabled.

2. PLANNING PRINCIPLE

To provide accessible parking facilities as close as possible to the point of destination.

3. DESIGN CONSIDERATIONS

3.1 General

*Accessible parking provisions apply to both outdoor and underground facilities.

*For multi-storey indoor parking facilities, at least one level should be served by an accessible elevator.

3.2 Number

*For parking facilities of less than 50 cars, at least one accessible parking space should be provided in every parking facility.

*For parking facilities of a maximum number of 400 spaces, accessible parking spaces should at least be provided in the ratio of 1:50 (one accessible space for every 50 spaces).

*For parking facilities of more than 400 spaces, at least 8 accessible parking spaces should be provided plus 1 space for each additional increment of 100 cars over 400.

3.3 Location

*For outdoor parking, accessible parking spaces should be located not more than 50 m from accessible building entrances.

*For indoor parking, accessible parking spaces should be located right next to accessible elevators, or as close as possible to exits.

*The ends of rows are preferable for vans with lifts for wheelchair users.

3.4 Dimensions

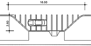
*The minimum width of an accessible parking space is 3.60 m. The recommended width is 3.90 m (fig. 1).

*An access aisle 1.20 m wide can be located between two ordinary parking spaces (fig. 2).

*For indoor parking, the minimum height clearance for vans with hydraulic lifts is 2.40 m.

*Where parking spaces are angled, the extra space at the end of a row can be used as a parking aisle for disabled persons (fig. 3). 3.5 Parking curb

*If a curb exists, curb ramps should be provided to link accessible parking spaces to accessible pathways (fig. 2).

*If no curb exists, a textured surface at least 0.60 m wide is needed to separate the pathway from the vehicular area; otherwise bollards should be used (see Street Furniture). Pre-cast wheelstops can also be used to set apart a passage at least 0.90 m wide (fig. 4) (fig. 5).

3.6 Curbside parking

*Curbside parking is dangerous for disabled people unless it is designed as an accessible drop-off area.

3.7 Drop-off areas (fig. 6)

*Drop-off areas are beneficial for picking up and dropping off people with physical limitations, parents with children, people carrying loads, etc.

*Drop-off zones should be provided at public transport stops such as bus stops, and not more than 30.00 m from accessible building entrances.

*The drop-off area should be at least be 3.60 m wide and incorporate an aisle 1.20 m wide to allow for manoeuvring. The length should accommodate at least two cars.

*Appropriate curb ramps should be provided to facilitate circulation over paved surfaces.

*Where no curb exists to mark the separation between pedestrian and vehicle zones, the installation of a cue is necessary to guide sightless pedestrians:

(a) Bollards may be used (see Street Furniture); (b) A tactile marking strip at least 0.60 m wide can be constructed at the edge of the pathway to warn of the transition to a vehicular area.

*A protected shelter or canopy with seating facilities is a recommended design feature at passenger loading zones.

*Signs should be installed to identify a drop-off zone and prevent its misuse as a parking space.

3.8 Surface

*The surface of a parking facility should beuniform and smooth.

*The slope of a parking ramp should not exceed 1:20.

3.9 Signs (fig. 7)

*Accessible parking areas should be marked by the international symbol of accessibility. (1)

4. EXISTING CONSTRUCTIONS

*If the parking area is more than 50.00 m from the building entrance, a vehicular drop-off area within 30.00 m of the entrance should be built or an accessible parking space close to the entrance should be constructed.

*If no accessible parking space is available, one of the following measures should be implemented:

(a) Block a peripheral regular stall with bollards to get one accessible parking space (fig. 8).

(b) Block a central regular stall with bollards to get two accessible parking spaces (fig. 9).

(c) Two accessible parking aisles (fig. 9).

*For indoor parking spaces with clear height of less than 2.40 m, alternative outdoor provisions for vans carrying disabled people should be provided.


Notes:

(1) An exacting fine can be imposed on non-disabled drivers who park in a parking space designated for the disabled.

Minimum width of accessible parking is 3.60 m.
Fig. 1

 

Common access aisle of 1.20 m between two parking spaces.
Fig. 2

 

Additional space provided by angled parking.
Fig. 3

 

Bollards or tactile marking to separate vehicular areas from pathways.
Fig. 4

 

Car wheelstop to set apart a passage of at least 0.90 m.
Fig. 5

 

Drop off area dimensions.
Fig. 6

 

Accessible parking marked by the international symbol of accessibility.
Fig. 7

 

Block a peripheral regular stall with bollards to create one accessible parking space.
Fig. 8

 

Block a central regular stall with bollards to get two accessible parking spaces.
Fig. 9

previousPrevious : Nextnext

Home | Sitemap | About us | News | FAQs | Contact us

© United Nations, 2003-04
Department of Economic and Social Affairs
Division for Social Policy and Development